Scans of selected Hammond schematics and wiring diagrams

For Leslie schematics go to the Leslie schematics page

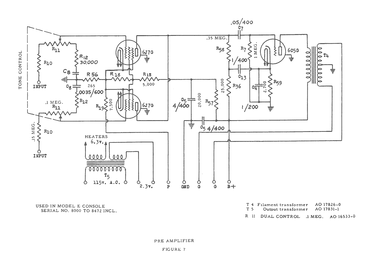
Most of the scans are from Xeroxes of old manuals and are ment as help for home-tinkerers like myself, so the scan quality may vary. Format is JPG or GIF unless otherwise stated.


Organs, preamps, power amps
 


Hammond Tone Cabinets

 

 


The following schematics can be found at: http://theatreorgans.com/hammond/faq/a-100/a-100.html as part of the Hammond-Leslie FAQ:

.
These are excellent scans!